PRODUCT CENTER
所有产品
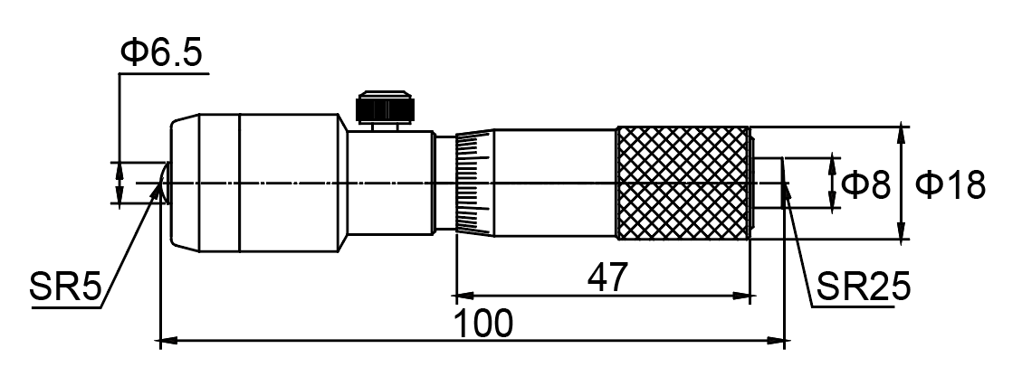
内径千分尺
组合接杆丈量规模大。
配有校对卡规,校对零位。
区分力:0.01mm。
可选硬质合金丈量面:302-XX-070。
钢管测杆,外圆尺寸Φ22mm。
精度:(3+n+L/50)μm (n=接杆数,L=最大丈量长度(mm))。
| 货号 | 丈量规模 | 接杆 |
|---|---|---|
| 302-00-060 | 100-125mm | 微分头 |
| 302-01-060 | 100-500mm | 25mm,50mm,100mm,200mm |
| 302-02-060 | 100-900mm | 25mm,50mm,100mm,200mm,400mm |
| 302-03-060 | 100-1300mm | 25mm,50mm,100mm,200mm,400mm(2件) |
| 302-04-060 | 100-1700mm | 25mm,50mm,100mm,200mm,400mm(3件) |
| 302-05-060 | 100-2100mm | 25mm,50mm,100mm,200mm,400mm(4件) |

